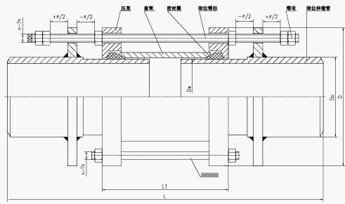
序號
|
名稱
|
數量
|
材料
|
1
|
壓蓋
|
2
|
QT400-15、Q235A、ZG230-450、20
|
2
|
套筒
|
1
|
Q235A、20、16Mn
|
3
|
密封圈
|
2
|
NBR
|
4
|
限位短管
|
2
|
Q235A、20、16Mn
|
5
|
螺母
|
Tn
|
Q235A、35、1Cr18Ni9Ti
|
6
|
長螺母
|
n
|
Q235A、35、1Cr18Ni9Ti
|
7
|
螺柱
|
n
|
Q235A、35、1Cr18Ni9Ti
|
上一篇:【VSSJA-1型單法蘭限位伸縮接頭】
下一篇:【SSJB(AY)型壓蓋式松套伸縮接頭】