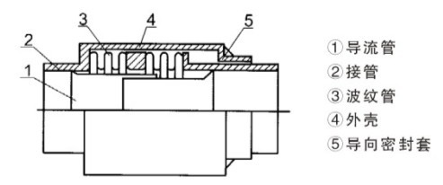
直埋式波紋補償器技術參數
通徑
|
波數
|
壓力等級MPa
|
波紋管
|
最大外徑
|
接管端口
|
總長L
|
||||
DN
|
0.25
|
0.6
|
1
|
1.6
|
2.5
|
有效面積
|
尺寸
|
尺寸
|
(mm)
|
|
|
軸向補償量mm/剛度N/mm
|
cm2
|
mm
|
mm
|
|
|||||
50
|
8
|
14/153
|
12/318
|
12/318
|
12/635
|
11/1310
|
37
|
120
|
φ57x3.5
|
361
|
16
|
27/76
|
24/158
|
24/158
|
24/318
|
23/655
|
445
|
||||
32
|
52/38
|
48/79
|
48/79
|
48/159
|
46/328
|
621
|
||||
65
|
8
|
19/213
|
18/213
|
18/213
|
18/424
|
15/841
|
55
|
159
|
φ73x4
|
377
|
12
|
30/142
|
29/142
|
27/142
|
27/283
|
25/421
|
425
|
||||
24
|
60/71
|
58/107
|
54/107
|
54/142
|
50/211
|
581
|
||||
80
|
8
|
30/179
|
30/179
|
30/358
|
29/358
|
27/650
|
81
|
162
|
φ89x4
|
430
|
10
|
54/143
|
37/143
|
37/286
|
37/286
|
32/325
|
466
|
||||
20
|
108/72
|
74/72
|
74/143
|
74/143
|
64/163
|
660
|
||||
100
|
6
|
34/138
|
34/277
|
33/417
|
33/417
|
32/817
|
121
|
180
|
φ108x4
|
410
|
10
|
56/83
|
56/166
|
56/250
|
54/250
|
50/409
|
492
|
||||
20
|
112/42
|
112/83
|
112/125
|
108/125
|
100/205
|
712
|
||||
125
|
5
|
37/136
|
36/272
|
36/408
|
35/408
|
33/801
|
180
|
221
|
φ133x4
|
410
|
9
|
66/76
|
65/151
|
65/227
|
63/227
|
60/401
|
412
|
||||
18
|
132/38
|
130/76
|
130/114
|
126/114
|
120/201
|
711
|
||||
150
|
5
|
49/100
|
49/200
|
48/300
|
45/456
|
44/845
|
257
|
245
|
φ159x4.5
|
433
|
8
|
88/63
|
78/125
|
77/188
|
71/286
|
65/423
|
518
|
||||
16
|
159/32
|
156/63
|
154/94
|
142/143
|
130/211
|
756
|
||||
200
|
4
|
58/95
|
56/193
|
56/288
|
56/480
|
55/800
|
479
|
327
|
φ219x6
|
475
|
6
|
86/63
|
85/128
|
85/192
|
84/320
|
80/927
|
553
|
||||
12
|
172/32
|
170/64
|
170/96
|
168/160
|
160/200
|
800
|
||||
250
|
4
|
75/170
|
74/343
|
63/588
|
53/930
|
50/1856
|
769
|
404
|
φ273x8
|
500
|
6
|
112/113
|
110/228
|
95/392
|
80/620
|
78/927
|
620
|
||||
12
|
220/57
|
220/114
|
190/196
|
160/310
|
156/464
|
984
|
||||
300
|
4
|
73/250
|
72/503
|
65/830
|
57/1253
|
54/2142
|
1105
|
451
|
φ325x8
|
584
|
6
|
110/167
|
109/335
|
97/553
|
85/835
|
80/1071
|
713
|
||||
12
|
220/84
|
218/168
|
194/277
|
170/481
|
160/536
|
1113
|
||||
350
|
4
|
79/263
|
78/523
|
72/840
|
64/1265
|
62/2684
|
1307
|
500
|
φ377x10
|
614
|
6
|
119/175
|
117/348
|
107/560
|
97/843
|
90/1342
|
759
|
||||
12
|
238/88
|
234/174
|
214/280
|
194/442
|
180/671
|
1216
|
||||
400
|
4
|
83/280
|
73/458
|
70/918
|
65/1373
|
63/3675
|
1611
|
537
|
φ426x10
|
625
|
6
|
126/187
|
109/305
|
102/612
|
97/915
|
90/1838
|
771
|
||||
12
|
250/94
|
218/153
|
204/306
|
194/458
|
180/920
|
1225
|
||||
450
|
4
|
98/203
|
96/405
|
82/690
|
69/2305
|
65/4350
|
1972
|
632
|
φ478x10
|
620
|
6
|
147/135
|
144/270
|
124/460
|
103/1537
|
90/2175
|
762
|
||||
12
|
294/68
|
288/135
|
248/230
|
206/769
|
180/1087
|
1200
|
||||
500
|
4
|
102/212
|
100/423
|
84/728
|
70/2452
|
65/4256
|
2445
|
699
|
φ529x10
|
624
|
6
|
153/142
|
149/282
|
126/485
|
105/1635
|
90/2128
|
766
|
||||
12
|
306/71
|
298/141
|
252/243
|
210/818
|
180/1064
|
1216
|
||||
600
|
4
|
123/265
|
121/530
|
86/1468
|
99/1740
|
95/2842
|
3534
|
806
|
φ630x10
|
676
|
6
|
185/177
|
181/353
|
148/978
|
140/1160
|
120/1420
|
848
|
||||
12
|
370/89
|
362/177
|
358/489
|
280/580
|
240/710
|
1382
|
||||
700
|
4
|
128/287
|
126/573
|
87/1625
|
85/2972
|
84/4100
|
4717
|
915
|
φ720x10
|
708
|
6
|
192/192
|
188/382
|
168/1083
|
131/1982
|
120/2050
|
882
|
||||
12
|
384/96
|
376/191
|
336/542
|
262/991
|
240/11025
|
1422
|
||||
800
|
4
|
128/310
|
126/620
|
84/1778
|
85/3183
|
84/6234
|
5822
|
1005
|
φ820x10
|
724
|
8
|
256/155
|
252/310
|
168/889
|
170/1591
|
168/3117
|
1071
|
||||
12
|
384/103
|
378/207
|
252/596
|
241/1061
|
236/1558
|
1538
|
||||
900
|
4
|
151/378
|
149/758
|
118/1329
|
117/2575
|
|
7620
|
1137
|
φ920x10
|
192
|
8
|
302/189
|
298/379
|
236/664
|
234/1288
|
|
1211
|
||||
12
|
453/126
|
447/253
|
351/443
|
354/825
|
|
1650
|
||||
1000
|
4
|
140/423
|
140/845
|
115/2770
|
90/5038
|
|
9043
|
1227
|
φ1020x10
|
800
|
8
|
280/212
|
280/423
|
230/1385
|
180/2519
|
|
1200
|
||||
12
|
420/141
|
420/282
|
345/923
|
270/1679
|
|
1616
|
上一篇:【JDH型大拉桿橫向波紋補償器】
下一篇:【直管壓力平衡型波紋補償器(YSZP)】